上海飛魯泵業科技有限公司專業生産銷售潛水攪拌機,潛水攪拌器,低速推流器,潛水排污泵,潛水曝氣機,潛水污泥回流泵,排污泵等環保設備

AS型切割式潛水排污泵
 
潛水攪拌器系列産品
産品列表 QJB型潛水攪拌機
---------------------------------
産品列表 QDT型低速推流器
---------------------------------
産品列表 QXB型潛水離心式曝氣機
---------------------------------
産品列表

QJB-W型潛水污泥回流泵

---------------------------------
排污泵系列産品
産品列表 WQ型潛水無堵塞排污泵
---------------------------------
産品列表 QWP型不鏽鋼潛水排污泵
---------------------------------
産品列表 WQD型單相潛水排污泵
---------------------------------
産品列表 WQS型大流量排污泵
---------------------------------
産品列表 WQR型熱水耐高溫潛水排污泵
---------------------------------
産品列表 JYWQ型潛水自動攪勻排污泵
---------------------------------
産品列表 JPWQ型不鏽鋼自動攪勻排污泵
---------------------------------
産品列表 AS型切割式潛水排污泵
---------------------------------
産品列表 WQK型帶切割裝置排污泵
---------------------------------
産品列表 YW型立式無堵塞液下排污泵
---------------------------------
産品列表 ZW型無堵塞自吸式排污泵
---------------------------------
産品列表 LW型無堵塞直立式排污泵
---------------------------------
産品列表 PW型無堵塞卧式排污泵
---------------------------------
産品列表 PW型離心式排污泵
---------------------------------
産品列表 GW型管道式排污泵
---------------------------------
産品列表 NL型污水泥漿泵
---------------------------------
聯系我們
公司地址:上海市青浦區勝利路588号
銷售電話:021-51699925
公司傳真:021-60852131
公司網址:www.fl16.com
公司郵箱:chinafeilu@163.com

當前位置:首頁--排污泵系列産品--AS型切割式潛水排污泵
AS型切割式潛水排污泵
一、AS型切割式潛水排污泵型号意義:
AS型切割式潛水排污泵型号意義
二、AS型切割式潛水排污泵概述:


AS型切割式潛水排污泵采用德國ABS公司先進的技術,特别适用于輸送含有堅硬固體、纖維的液體,以及特别髒、粘和滑的液體。所有AS泵均裝有經調整好的撕裂機構能将污水中長纖維、袋、帶、草、布條等撕裂後排出。因此,在污水中工作不會堵塞運行極爲可靠。 AS型切割式潛水排污泵連續使用時約40℃。間歇使用(最長不超過5分鍾)爲80℃。主要零件材料爲鑄鐵,所以不能應用于抽吸高度腐蝕性液體。


三、AS型切割式潛水排污泵特點:
本系列水泵具有結構簡單、排污力強及高效節能的優點.同時可配備自動控制及自動安裝裝置,使泵的組合更爲優良.而泵的運行則更爲安全可靠。
1、采用獨特的大通道開式葉輪結構,大大提高了污物通過能力,能有效的通過直徑爲泵徑約50%的固體顆粒。
2、本系列水泵特别設計了一種特殊的撕裂機構,能夠把纖維物質撕裂,切斷,然後順利排放,無需在泵上回裝濾網,因此本系列水泵特别适用于輸送含有長纖維物質的污水。
3、設計合理、配套電機功率小、節能效果顯著。
4、采用最新材料精制而成的機械密封處于油室内運行,可使泵安全運行8000小時以上。
5、能夠在全揚程範圍内使用,且保證電機不會過載。
6、對産品的漏電、漏水以及過載等進行了保證控制,提高了産品的安全性與可加性。
7、可根據用戶據要配備液位自動控制櫃,根據所需液位變化,自動控制泵的起動與停止,不需專人看管,使用極爲方便,且易于實現自動化管理。
8、雙導軌自動耦合裝置(自耦)系統給安裝,維修帶來極大的方便,人可不必爲此而進出污水坑。

四、AS型切割式潛水排污泵用途:
切割式潛水泵用于工廠、商業嚴重污染廢水的排放;
用于醫院、賓館的污水排放;
用于城市污水處理廠排放系統;
用于市政工程、建築工地;
用于住宅區的污水排水系統;
用于勘探、礦山配套附機;
用于人防系統排水站;
切割式潛水泵用于農村沼氣池、農田灌溉。

五、AS型撕裂式潛水排污技術範圍:

流量:15-145m3/h;
揚程:4-25m;
轉速:1450-2900r/min;
口徑:φ76-φ152;
溫度範圍:-15-+40℃;
工作壓力:≤1.0Mpa。

六、AS型切割式潛水排污泵的性能參數表:
型号 流量 揚程 電機功率 轉速 額定電壓 額定電流 配用膠管内徑 自耦裝置 重量
(m3/h) (M) (kw) (r/min) (V) (A) mm
AS10-2W/CB 15 4 1.1 2850 220 5.65 76 80GAK 30
AS10-2CB 15 4.5 1.1 2850 380 2.9 76 80GAK 30
AS16-2CB 29 7.6 1.5 2850 380 3.5 76 80GAK 33
AS30-2CB 42 11 3 2850 380 6.4 76 80GAK 40
AS55-2CB 45 13 5.5 2900 380 11.1 127 100GAK 165
AS55-4CB 100 7.5 5.5 1450 380 11.6 152 150GAK 180
AS75-2CB 60 18 7.5 2900 380 15 127 100GAK 185
AS75-4CB 145 10 7.5 1450 380 15.4 152 150GAK 200
AV14-4 22 5.8 1.5 1450 380 3.5 76 80GAK 33
AV55-2 30 20 5.5 2900 380 11.1 76 100GAK 165
AV75-2 30 25 7.5 2900 380 15 76 100GAK 200

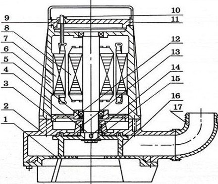
七、AS型切割式潛水排污泵的結構圖:
AS型切割式潛水排污泵的結構圖
1 底座 10 電纜
2 泵體 11 上蓋
3 軸承體 12 軸承
4 13 機械密封
5 唇型密封 14 平鍵
6 電機殼 15 葉輪螺母
7 定子鉄芯 16 葉輪
8 轉子鐵芯 17 彎管
9 進線密封  

八、AS型切割式潛水排污泵的性能曲線圖:
AS型切割式潛水排污泵的性能曲線圖
九、AS型切割式潛水排污泵的外形尺寸及安裝尺寸:
外形尺寸圖
外形尺寸
安裝尺寸圖
安裝尺寸

十、AS型撕裂式潛水排污泵使用說明:

在水泵啓動之前,應由一名合格的電工對該系統進行檢查,以确保下列下述各頂所要求的電器保護措施:
1、泵在運轉前,應用0~500兆歐表檢查電機相間及相對地絕緣電阻,最低値應大于2MΩ;
2、電源裝置應安全、可靠、正常。電源電壓、頻率應符合規定(電壓爲380V±5%,頻率爲50Hz±1%),且電壓的瞬時超差不應超過10%。如果電源離水泵使用的距萬較遠時,電纜的截面積應加粗,接頭應盡可能少些,否則會使電壓下降太多,且應在電纜接頭處作密封防水處理,以防漏電;
3、在四芯電纜中,帶有符号"┴"者爲接地線(一般爲綠黃雙色線或黑色線)爲了保證安全使用, 必須牢固接地,并比其它線長出50mm;
4、條件許可時,電器保護裝置可包括:接地保護器,地面漏電斷流器等,但是,在任何情況下,都必須裝有和電泵額定電流値相符的慢熔保險熔斷絲;
5、電器控制裝置應防潮,井安裝在防潮的區域,電纜的安放應注意不要使其堵在泵的吸入口處;
6、檢查轉子轉動方向。
在電泵初次啓動或重新安裝後都應檢查轉動方向,轉動方向不正确運轉會造成水泵效率降低,或造成葉輪脫落等損壞水泵事頂。
爲測定轉子轉動方向,在水泵最終安裝之前,應舉高并作點動運行,符合下列情況即轉動方向正确, 否則,應交換控制器上三相線中任意兩根線的位置以改變轉動方向。
a.從泵的頂部向下看,轉子順時針方向轉動;
b、從底部向上看〔即吸入口方向〕可見葉片按逆時針方向轉動。
注:如果幾台泵連到同一個控制器上,則應單獨檢查。

十一、AS型撕裂式潛水排污泵運輸與使用注意事項:

1、決不允許用泵的電纜線起吊或懸挂水泵,在搬運或懸挂水泵時,可用帶鈎的鏈條鈎在把手上或上蓋的吊環上;
2、在移動使用時,出水軟管可用前面表格規定的标準軟管接頭,接在水泵的出水彎管上,固定使用時,可根據自耦裝置的法蘭标準設置管路;
3、水泵不能放在污水的出口處,當水泵座放在泥地上或浮沙上吋,水泵由于震動,産生下陷,這時建議用戶将水泵懸置起宋或放在一個較大的底闆上;
4、如果泵仍在繼續運轉,在0℃以下的氣溫時,可以繼續使用,但如果停止不用時,則應将泵吊起清洗保管;
5、出水管內徑應符合規定的要求,但在輸送距離較遠時,也可适當減小內徑但易引起堵塞,降低輸送效率,不經濟;
6、在污水中使用的泵,經過長時間運轉之後,在機殼的周圍可能堆集泥漿等雜物,降低了傳熱的速度,使泵的內部溫度上升,縮短電機的使用壽命,或造成無緣無故的跳閘,因此,每運轉一定時段之後〔比如降至最低水位)應用軟管對泵進行沖洗,保持其淸潔;
7、泵密封使用10#-30#機械油進行潤滑冷卻,由于密封磨損,潤滑油會漏出,而轍送介質也可能經過密封逬入電機,這時請趕快将泵送至本廠修理部門或委托維修點更換密封,以免将水泵電機燒壞;
8、未切斷電源時,不得移動水泵,不得在泵工作吋接觸四周的水源,以防泵萬一漏電,而又無地面漏電斷流器裝置時,造成觸電事故;
9、潛水電泵安裝以後,不宜長期浸泡在水中不用,從而增加電機受潮的機會,同時建議每周至少運轉4小時以檢查其功能及适應性,否則,應提起放在幹燥處備用。

十二、AS型撕裂式潛水排污泵安裝注意事項:

正确安裝使用是該泵長久,正常運轉的基本保證,特别提醒用戶千萬不可大意:
1、水泵電源線必須與配套電控裝置或匹配熱繼電保護器相連接,不得直接與總電源相接;
2、無論是移動安裝還是自動固定式安裝,提泵鏈索及電纜線均不應垂落太長以免被泵吸進切斷;
3、積水池底部泥漿過綢或硬石過多時,應将泵置于該物質之上30cm或将泵放置于一塊大的鐵闆之上;
4、水泵排水管應按說明選用,不宜随便改變;
5、單台水泵安裝在水無可能回流情況下,盡可能不裝止回閥;
6、雙台水泵并聯時,不得将閘閥及止回閥安置在主管處,以緻泥沙反沖至備用泵上端造成止回閥不能啓動,如有可能應在橫管處設幹井,安裝置放止回閥及闬閥;
7、确保電泵轉向正确後,方可投入連續運轉;
8、本系列水泵長期使用過程中,無論自動、手動,不得頻繁啓動,一般每小時不宜超過六次;
9、維修水泵時,必須切斷電源。

十三、AS型撕裂式潛水排污泵檢查與維修:

本系列泵産品性能優良,運行可靠,每台泵在出廠前都進行了嚴格的出廠檢測,永久潤滑的球軸承以及處于油室內運行的優質機械密封使水泵具有最大的耐用性,然而,爲了确保水泵的使用壽命,建議進行定期的檢查和保養。
1、定期檢查電泵電動機相間及相對地間絕緣電阻,其値應大于2MΩ,否則應拆機檢修(逬行幹燥處理)同時檢查接地是否牢固;
2.葉輪和撕裂機構(底座蓋闆)之間的間隙爲0.3~0.5,在介質中長期使用之後,此間隙可能由于磨損而增大,此時應予以調整,其方法如下:斷幵電源,松幵固定螺釘,将蓋闆旋轉一個适當的角度即可恢複原間隙;
3、電泵多次使用後必須把電泵放入清水中運行數分鍾,防止泵內留下沉積物,以保證電泵的清潔';
4、電泵在規定的介質中正常運行半年後應檢查油室密封狀況,更換10#~30#機油必要時更換機械密封件,對于在惡劣工作條件下使用的電泵,應經常檢修;
換油方法如下:把泵放置好,使油室螺塞(位于出水口內側)朝下,放出潤滑油,然後用洗深油清洗油室,再注入适量的油(約70%~80%)再換一個新的〇型圈并将螺塞旋緊。
如油中發現有水〔奶狀乳化液)按規定沖洗油室井重新裝油,三個星期後必須重新檢查一次,如果油又變成乳狀液,機械密封件應進行檢查,必要時應予更換(與我廠維修部接洽〕,如自己更換密封件,須做氣密試驗(空氣壓力爲0.5kg/cm2)
5、萬一發生故障,在不能确定原因,幷且按後面提供的排除方法仍不能解決吋,清不要釆取臨時湊的辦法,更不要私自亂拆亂修,而應與我廠維修部門聯系。


十四、AS型撕裂式潛水排污泵故障原因及排除方法:
故障原因
原因分析
處理方法
泵的流量或揚程下降
1.泵反轉2、輸送揚程太高。3、抽吸的介質走旁路。4、出水管洩漏。5、出水管局部可能被沉積物堵死6、泵局部堵塞。7、葉輪/底座磨損。
1、關掉控制箱的總電源,洞換任何二相電源線。2、檢查:a、選擇的泵型号是否正确。b、出水管尺寸是否正确。3、檢查閥門是否被關死,然後滿員載測試泵。4、找出洩漏,幷逬行修正。5、檢查管線,清理或更換新的。6、吊起泵湧理,如果泵放在濾網內,同樣也需檢查和清理7、吊起泵凋整間隙或更換零件。
泵的運轉後無流量
1、氣塞。2、檢查出水排放閥門。3、泵反轉。
1、a、接二連三地打幵和關閉閥門幾次。b、啓動停止泵幾次,每次重新啓動之間間隙爲2—3分鍾c、根據不同的安裝方法,檢査是否需裝一個空氣釋放閥2、a、如果閥門處于關閉狀态應打幵。b、如果裝反了,應重新倒過來。
泵起動和停止太頻繁
1、浮球開關定的距離太短。2、逆止閥故障,逆止閥不能止回,使液體倒流入污水池。
1、重調浮球開關,延長運行時間。2、檢查并維修。
停止失靈
1、浮球幵關,亭止"功能失靈”。2、浮球上浮子卡在"工作"的位置
1、檢查,如需要應予更換。2、松幵,如需要的活,可改変位置。
泵起動後,斷路器/過載器跳開
1、電壓低。2、電壓過高。3、電譏接線不對4、在蝸殼底部堆積了泥漿或?它沉積物。
1、a、檢查控制盒電壓,如電壓過低,暫時不能使用。b、電纜線過長,引起壓降過大,應盡量縮短電纜,幷适當選擇粗些的電纜。2、裝變壓器,将電壓洞到規定的範圍。3、檢查在控制盒中的電纜彩色編号和接頭标号并檢查接線4、清理泵和污水池,參見安裝說明中的有關部分。
泵不能啓動,熔絲熔斷或斷路器跳開
1、浮球故障。2、繞組、接頭或電纜斷路。3、泵被堵塞
1、檢查使用旁路浮球幵關是否能啓動泵。如是,應檢查浮球幵關。2、用歐姆表檢查。如果證明是路,檢查繞組,接線頭及電纜。3、切斷電源,将泵移出污水池,清除障礙物複位前試用一下。
泵啓動不了,但熔絲沒斷或過載保護器不跳開
1、沒電。2、繞組、電纜、接線頭或控制麁斷路。
1、檢查控制盒是否有電。2、檢查電纜、電機的接頭和繞組。

其他排污泵系列産品推薦:
WQ型潛水無堵塞排污泵
JYWQ型潛水自動攪勻排污泵
WQK、WQG、WQX型帶切割裝置排污泵
YW型立式無堵塞液下排污泵
LW型無堵塞直立式排污泵
PW型無堵塞卧式排污泵
PW型離心式排污泵
GW型管道式排污泵

您可能感興趣的潛水攪拌器系列産品
QJB型潛水攪拌機
QDT型低速推流器
QXB型潛水離心式曝氣機
QJB-W型潛水污泥回流泵
新聞資訊
技術文獻
潛水排污泵該如何保養和維護? 潛水攪拌機是什麽?
潛水排污泵的結構特點有哪些? 潛水攪拌機選型需要考慮的事項
潛水排污泵不啓動的原因及解決方法 潛水攪拌機如何安裝
潛水排污泵定子燒壞是什麽原因?如何處理? 潛水攪拌機的操作保養注意事項
潛水排污泵流量不足或不出污水是什麽原因?如何處理? 潛水攪拌機在應用中注意事項
   
   
精品推薦:潛水攪拌機 | 潛水攪拌器 | 低速推流器 | 潛水排污泵 | JYWQ型潛水自動攪勻排污泵 | WQ型潛水無堵塞排污泵 | 排污泵
 
銷售熱線:+86-021-51699925  52699921     24小時咨詢熱線:400-021-5161      銷售傳真:+86-021-60852131       公司郵箱:chinafeilu@163.com
 
本網站所有圖片和資料均屬飛魯泵業科技所有,未經同意不得轉貼 網站備案号:滬ICP備11035286号-1